今年5月,亚马逊上市二十周年,年复合收益率近40%。IPO之时亚马逊的市值为4亿3800万美元,今年7月底其市值突破了5000亿美元,翻了1000倍还多。20年来,亚马逊用各种各样的方式改变着人们的生活,Prime服务、AWS云服务、人工智能等等,重构着人们的购物方式、改变着企业对计算机的应用,推进人类与计算机交互的新方式。忠于用户,坚持不断地创新,作为一家老牌电商,在物流运输方式上,亚马逊也一直走在革新的前列。
从2013年12月,贝索斯首次对外披露了Prime Air无人机配送包裹计划,对于链条上下游相关的技术专利,亚马逊已经执著了好几年。
2014年9月,亚马逊申请了一项关于无人机送货系统的专利,但是当时申请失败了。2015年5月份,美国专利商标局公布了该专利的申请详情。这项专利的目的是,当足够多的无人机在高空运货时,形成网络,能够互相交流信息,收集环境数据,更新路线。包括Bring It To Me(带给我)、Home(家里)、Work(工作地点)以及My Boat(小船)四个选项,不管在哪,都能够及时送到客户手中。同时,该系统还可以为无人机更换电池、充电等。但是这一系统需要大量的无人机“加油站”作为支持。

2014年底的另一项专利“空中物流中心”在提交申请不久后顺利获得批准。“空中物流中心”是想要在指定区域的上空建立一种悬浮仓,然后用一种小型的接驳“飞船”将货物运送到目标地附近的悬浮仓,用无人机完成最后一公里配送。

2016年7月,亚马逊又申请了一项关于无人机“接驳点”的送货系统。将这些接驳点设在建筑物的高处,例如广播电视塔、路灯、电线杆、教堂或写字楼等建筑物高处,相当于停机坪,通过中央控制软件系统进行监控和管理,使得亚马逊的送货无人机能够借助这些接驳点进行充电,在极端天气提供避险。这样的控制能够应对意外天气、密集人流的影响,选择最优的送货路径。送到接驳点之后,一个途径是通过升降机或传送带等设施送到地面快递员的手上,由快递员投递给客户,另一个途径是无人机直接投递到预设地点。该专利计划实现在下单后30分钟内用无人机将快递送到客户手中。

2016年9月,一个让无人机降落在卡车上,或者搭卡车顺风车的相关专利获批。在不影响送货时效的情况下,无人机可以通过搭卡车顺风车来实现节能,或者在出现故障、电量过低时降落在临近卡车上。
2016年12月底,亚马逊又申请了一项关于无人机送货集群的专利,并获得批准。这项专利最早于2015年2月提交。该专利主要面大体量的货物。用小型四轴无人机组成“巨型运输机”集群,根据需要进行不同的排列,形成不同的形状和矩阵,满足不同形状、尺寸货物的运输需求。

此外,去年年底亚马逊还针对无人机运输安全申请了一项专利,名为“自主飞行的无人机遇险应对策略”。建立信息沟通网,配备危险感应模块,使无人机之间能够互相传递、共享飞行信息,帮助他们应对黑客和外力打击。
2017年6月,亚马逊提交了一份关于快递无人机塔的专利申请,意图打造设计独特、形似蜂巢的运营中心塔楼。内部配备机器人,无人机可在此停靠,装载货物。弥补当前配送中心大多位于郊区导致的配送不利,服务于人口密集的市区。

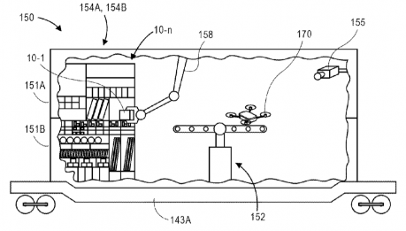
8月初,国外科技媒体The Verge报道称,亚马逊又申请了一项新专利,是关于在运输船、货车等移动物体上启用无人机的技术。亚马逊要在这些大型长途运输设备上搭建无人机移动飞行平台。在大型移动运输设备上搭建高度自动化的集装箱,里面设置可旋转停机坪用于无人机起飞,控制机械臂为无人机装载电池和货物,装载完成后货柜顶部打开,无人机起飞。整个过程也是全自动化,有摄像监控,便于工作人员及时调整修正。据了解,物流公司UPS已经在卡车上测试与之相似的自动化运输系统,称为“多功能联运车”,但是亚马逊目前的技术还只是雏形。
对应这方面的计划,美国科技博客Business Insider日前也发文称,亚马逊已经提交了一份关于建立海陆中继站的专利申请,在大货车、货车、货船等海陆大型运输设备上建立中继站为无人机充电、维护、补货。

除了海上、陆地,亚马逊还曾经申请过有关地下隧道送货网络的专利,通过这种方式来避免道路拥堵造成的效率底下,缩短送货时间。

在研究配送系统的同时,亚马逊对无人机设备本身也投入了不少研发精力,例如微型个人助理无人机、无人机可调整起落架、机器人螺旋桨等等,帮助货运无人机平稳降落,保护商品完整。
另外,亚马逊还被授予过一项较有争议性的专利,亚马逊曾计划未来派无人机搭载数据传感器,对客户的房子进行扫描,分析购买行为,从而为客户推荐更多商品。

通过以上盘点,我们可以看到亚马逊在无人机配送方面的目标是无处不达。为了实现这个目标,从陆地、海上、空中、地下各角度着手进行了探索。有些专利非常具有想象力,例如空中悬浮仓、无人机塔,许多专利最后也可能只是停留在专利阶段,没法成为现实。在法律和政策尚未明确和完善的阶段,无人机上天还需要等待相当长的时间。但是这些尝试和研究都在为无人机的应用开辟思路,提供更加丰富的想法。
什么样的无人机运输什么货物、如何运输、从哪里运输、仓库怎么设置、怎样控制和调度、无人机在空中如何补给和维护、如何保障安全、如何降低成本并减少能耗、怎样花最少的时间到达客户手中,从下单配货到出仓运输,再到完成配送,以及物流体系的维护,亚马逊正从整个链条的方方面面进行探索和布局。
除了政策和法律监管,这些设备的设置选址、仓库的设置和建立等等都需要大量的资金投入和长时间的建设,但是亚马逊通过全环节的研究,打造自己的无人机物流体系,也就能随时考虑避免出现短板,他们已经在无人机配送领域走在了前面。虽然是一个长期的计划,但是未来亚马逊会继续成为物流运输方式的革新的先驱,创造新的亚马逊价值。